}

3.5m NA2 Mounting Plate Drawings (Solidworks and other formats)

Solid Works Drawings

Right click on link below to download linked file (or download linked file as...) then open in Solidworks

Mounting Plate Assembly (Solid)
V-Kinematic bar (Solid)
V-Kinematic bar (Drawing)
Flat-Kinematic bar (Solid)
Flat-Kinematic bar (Drawing)
Y-Clamp Mounting Plate Hook (Solid)
Y-Clamp Mounting Plate Hook (Drawing)
Mounting Plate (Solid)
Mounting Plate (Drawing)

Parasolid (.x_t) Drawings

Mounting Plate Assembly (Parasolid)
V-Kinematic bar (Parasolid)
Flat-Kinematic bar (Parasolid)
Mounting plate hook (Parasolid)
Mounting Plate (Parasolid)

Other drawing file formats avail upon request


3.5m Optical Information (Zemax Files and Other formats).


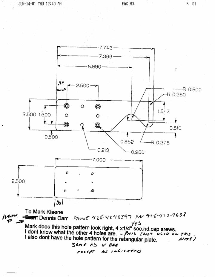
Older 3.5m NA2 Mounting Plate Drawings (JPG)

Focus Position

Mounting Parts

Y-Clamp - side view

Y-Clamp - top view

Hole Pattern